+86 15603181870
amy@chnhose.com
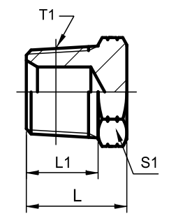
NPT Male Plug
| PART NO. | THREAD | DIMENSIONS | WEIGHT | WORKING PRESSURE | ||
| T1 | L | L1 | S1 | g | ||
| 4N-02 4N-04 4N-06 4N-08 4N-12 4N-16 4N-20 4N-24 4N-32 |
NPT1/8″X27 NPT1/8″X27 NPT3/8″X18 NPT1/2″X14 NPT3/4″X14 NPT1″X11.5 NPT1.1/4″X11.5 NPT1.1/2″X11.5 NPT2“X11.5 |
16 20 21 27 29.5 36.5 38.5 43 43.5 |
10.5 14.5 14.5 19.5 19.5 24.5 25.5 26.5 27.5 |
12 17 19 22 27 36 46 50 65 |
10 20 30 56 95 185 315 444 686 |
34.5 27.5 21 21 17 14 8 7 一 |