+86 15603181870
amy@chnhose.com
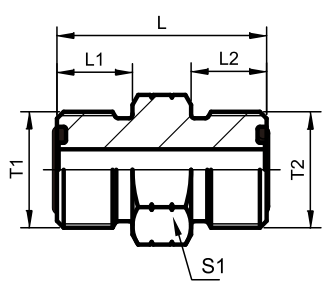
ORFS Male O-Ring
| PART NO. | THREAD | DIMENSIONS | WEIGHT | WORKING PRESSURE | |||||
| T1 | T2 | L | L1 | L2 | 1 | g | |||
| 1F-04 1F-06 1F-08 1F-10 1F-12 1F-16 1F-20 1F-24 |
9/16″X18 11/16″X16 13/16″X16 1″X14 1.3/16″X12 1.7/16″X12 1.11/16″X12 2″X12 |
9/16″X18 11/16″X16 13/16″X16 1″X14 1.3/16″X12 1.7/16″X12 1.11/16”X12 2*X12 |
27.5 31 35.5 42.5 47 49.5 51.5 53 |
10 11 13 15.5 17 17.5 17.5 17.5 |
10 11 13 15.5 17 17.5 17.5 17.5 |
17 19 22 27 32 41 46 55 |
31 48 67 121 183 281 356 503 |
63 63 63 40 40 40 25 25 |
|