+86 15603181870
amy@chnhose.com
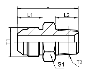
Metric Male 74° Cone / BSPT Male 60° Cone
| PART NO. | THREAD | DIMENSIONS | Mpa | |||||
| T1 | T2 | L1 | L2 | L | 1 | |||
| 1QT-10-02SP 1QT-14-04SP 1QT-14-06SP 1QT-16-04SP 1QT-16-06SP 1QT-18-04SP 1QT-18-06SP 1QT-22-08SP 1QT-27-08SP 1QT-27-12SP 1QT-30-12SP 1QT-33-12SP 1QT-36-16SP 1QT-39-16SP 1QT-45-20SP |
M10X1 M14X1.5 M14X1.5 M16X1.5 M16X1.5 M18X1.5 M18X1.5 M22X1.5 M27X1.5 M27X1.5 M30 1.5 M33X2 M36X2 M39X2 M45X2 |
R1/8″X28 R1/4″X19 R3/8″x19 R1/4″X19 R3/8″X19 R1/4″X19 R3/8″X19 R1/2″ X14 R1/2″X14 R3/4″X14 R3/4″X14 R3/4″X14 R1″X11 R1″X11 R1.1/4″X11 |
12.5 18 18 19 19 19 19 19.5 20.5 20.5 23 26 26 27.5 28.5 |
8.5 12.5 13 12.5 13 12.5 13 17 17 18 18 18 21.5 21.5 24 |
26.5 36 37 37 38 38.5 38.5 44.5 45 46 50 52 57.5 60 64.5 |
12 17 17 19 19 19 22 24 30 30 32 34 41 41 46 |
34.5 34.5 34.5 25 25 25 25 20 20 20 20 16 16 12.5 10 |
|