+86 15603181870
amy@chnhose.com
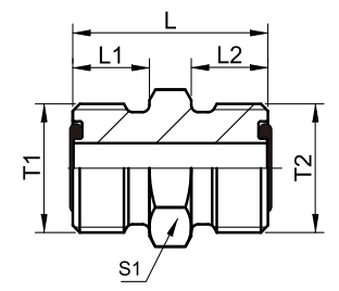
Metric Male O-Ring
| PART NO | THREAD | DIMENSIONS | W.P | ||||
| T1 | T2 | L | L1 | L2 | 1 | Mpa | |
| 1E-12 1E-14 1E-16 1E-18 1E-22 1E-27 1E-30 1E-36 1E-39 1E-42 1E-45 1E-52 1E-60 |
M12x1.25 M14x1.5 M16x1.5 M18x1.5 M22x1.5 M27x1.5 M30x1.5 M36x2 M39x2 M42x2 M45x2 M52x2 M60x2 |
M12x1.25 M14x1.5 M16x1.5 M18x1.5 M22x1.5 M27x1.5 M30x1.5 M36x2 M39x2 M42x2 M45x2 M52x2 M60x2 |
28 28 28 28 32 36 39 43 49 53 55 59 59 |
10 11 11 11 12 13 14 16 18 20 21 22 22 |
10 11 11 11 12 13 14 16 18 20 21 22 22 |
14 17 17 19 24 30 32 41 41 46 46 55 65 |
63 63 63 63 63 40 40 40 25 25 25 25 25 |